2025-04-20
2025-04-20
2025-04-20
了解一下,冷凍雞翅進口報關流程是這樣的;冷凍雞翅進口報關流程|進口冷凍雞翅尖報關代理|雞翅中進口代理報關行|冷凍雞翅根進口清關公司。
臻力供應鏈是一家為企業提供專業的“全球進口一條龍服務”的物流供應鏈服務公司。從2004年公司成立起,經過15年的發展,目前在擁有10家公司,覆蓋沿海國內的主要口岸,從華北的大連港一直延伸到華南的深圳港。
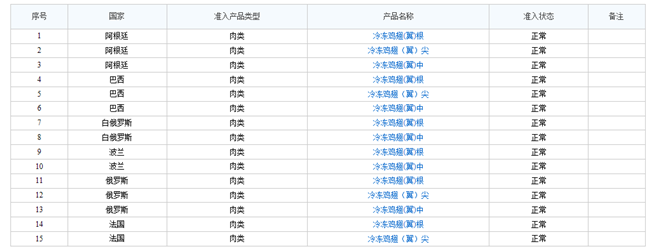
冷凍雞翅允許進口的國家有:阿根廷、巴西、白俄羅斯、波蘭、俄羅斯、法國、泰國、智利,其中最常進口的是“阿根廷、巴西、俄羅斯、智利”。(如需了解冷凍雞肉、雞爪等進口準許國家,您可以提供貨物的海關編碼給我們幫您查詢)。


冷凍雞翅進口報關
作為全球的雞肉消費大國,禽肉類進口逐年上升,那么禽肉類進口商如何從國外進口,需要哪些資質才能進口,進口報關流程是怎樣的?以下是冷凍雞翅進口報關流程,希望能幫到您!

冷凍雞翅進口報關
冷凍禽肉類進口報關,國內進口商的企業資質要求:
(1)進出口經營權;
(2)肉類的經營范圍及肉類資質;
(3)進口食品進出口商備案企業備案(進口辦理);
(4)海關企業年報申報、海關無紙化簽約、電子委托申報簽約(進口辦理)
冷凍雞翅進口報關流程:
簽訂合同--食品中文標簽審核--備貨 --準備冷凍雞翅進口報關單證--發貨到港口--換單--報檢--報關--交稅--貼標簽 -- 申請商檢查驗---貨物放行
關于冷凍雞爪進口報關:
優質凍雞爪主要以巴西、阿根廷、智利、澳大利亞為主,品質好,個頭比較大。隨著中智、中澳自貿協定實 施,進口冷凍肉類關稅逐步下調,進口成本更低。冷凍雞翅進口報關專業代理肉類食品一般貿易進口報關,為企業提供各種冷凍肉類產品進口代理服務,冷凍牛肉、冷凍羊肉冷凍雞腳、冷凍雞爪、冷凍雞翅、冷凍雞腿等,我司在肉類凍柜進口清關方面擁多年進口報關經驗,凍品進口報關流程非常熟悉,歡迎咨詢我們!
冷凍雞翅等凍品進口報關有些單證我司可以代辦,咨詢了解方式:點擊我司網站網頁右下角的咨詢框【在線咨詢】;或者撥打我司全國免費咨詢電話(注:如是下班時間,可給我們留言,我們的客服小姐姐會在看到的第一時間給您致電!上班時間:8:45-18:00)
注明:本文圖片來源于網絡,如有侵權請聯系我們刪除。
對于天津專業食品進口報關清關的需求日益增長,臻力作為一家專業的進口報關清關公司,為您提供高效、可靠的服務。將介紹天津專業食品進口報關清關的重要性,以及臻力在此方面的專業優勢,幫助您順利通關,如果您有需
2025-08-31
首次進口植物營養劑的朋友們肯定對植物營養劑進口報關的流程以及hs編碼、申報要素、稅率等方面都是不了解的,也不用擔心,我司是一家專業的植物營養劑進口報關公司,對于植物營養劑進口相關事宜都比較熟悉,并且有
2025-08-31
作為進口貿易的一部分,巢湖二手機械設備的報關和報檢費用是企業進口過程中必須考慮的重要因素。下面臻力將詳細介紹巢湖二手機械設備報關報檢費用構成和相關細節,幫助企業了解并合理規劃進口成本。專業進口報關19
2025-08-31
在全球化背景下,食品進口成為了人們日常生活中的常見現象。然而,食品進口涉及到繁瑣的報關和清關手續,對于許多企業來說是一項復雜的任務。臻力將詳細介紹重慶食品進口報關清關的全程流程,推薦臻力作為專業合作伙
2025-09-23
我司專業提供日本、英國、韓國、美國、德國等地的各種油漆進口報關代理,為客戶進口油漆辦理進口備案手續。進口涂料油漆需要在進口前2個月做進口涂料備案手續,因此、欲進口涂料油漆的朋友有必要咨詢專業的化工涂料
2025-09-23
臻力供應鏈有限公司,16年化工品進口門到門操作經驗,13W+進口案例,可提供全球門到門的著色劑進口代理服務。2010-2013年化工品進口總額3.5億美金,服務超過150家企業,2017年化工品總額進
2025-09-23
上海XX機械設備公司是在百度搜索“光學測量儀進口報關公司”找到我司臻力,成立于2012年,客戶想從香港進口意大利光學測量儀、日本機械手臂、德國熱熔膠機、美國晶圓膜厚測量儀、日本加速老化試驗箱到深圳,對
2025-09-22
熱熔膠進口報關代理流程以及如何節省進口成本?熱熔膠(英文名:HotGlue)是一種可塑性的粘合劑,熱熔膠是屬于化學用品;在一定溫度范圍內其物理狀態隨溫度改變而改變,而化學特性不變,其無毒無味,屬環保型
2025-09-22

注明:本網站圖片來源于網絡,如有侵權請聯系我們刪除。